什么是鐘罩式氣體流量標準裝置
點擊次數:3624  發布時間:2020-08-17 09:14:02
	 
	鐘罩式氣體流量標準裝置又稱動態法氣體流量標準裝置,它是以氣體為介質,用來對氣體流量計進行檢定、校準和檢驗的流量標準設備。
	該裝置的構成、工作原理和準確度等級如下。
(1)結構
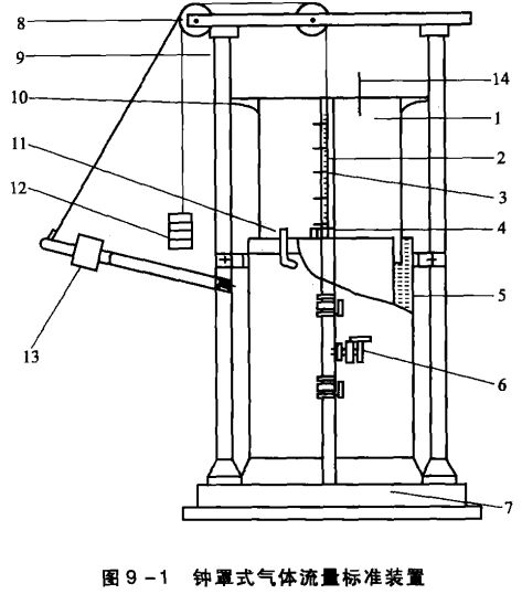
	如圖9一1所示,裝置一般由鐘罩、光電發訊器、液槽、壓力補償機構、氣源和試驗管道等構成。
(2)工作原理
	如圖9-1所示,裝置是由可移動的鐘罩和固定的液槽構成一個容積可變的密封空腔。鐘罩下降過程中通過壓力補償機構,

	1-鐘罩;2-標尺;3-擋板;4-光電發訊器;5-液槽;6-調節閥門;7-底座;8-滑輪;9-導柱;10-外導輪;11-水位計;12-平衡重錘;13-壓力補償機構;14-溫度計
	使其內部氣體壓力保持一定值,不隨鐘罩浸入密封液體中的深度而變化。鐘罩兩擋板之間的容積是固定的,測出兩擋板先后通過光電發生器所經歷的時間,可計算出瞬時流量。
(3)準確度等級
	裝置的準確度等級有:0.2級、0.5級、1.0級3種。
		上一篇:液體流量標準裝置是什么
下一篇:腰輪流量計的基本概述及工作原理



 
    
    
    
    
    
    
    
    
    
    
    
   